Question
Question: Which of the following statements is correct? 
A. The balls will execute simple harmonic motion between the two plates
B. The balls will bounce back to the bottom plate carrying the same charge they went up with
C. The balls will stick to the top plate an remain there
D. The balls will bounce back to the bottom plate carrying the opposite charge they went up with
Solution
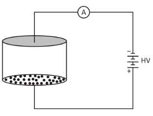
In this case, we will take the coefficient of restitution to be zero as the balls are light in weight. The electric field generated inside the chamber can be taken as a parallel plate capacitor. We know, charges of opposite polarity attract each other.
Complete answer:
Balls put on a positive plate are charged positively and travel upwards because of the electric field. These balls are negatively charged when colliding with a negative plate and pass in the opposite direction of the electric field. The balls are considered to be lightweight and they are coated with some conducting material. After the electric current is allowed to pass, the ball will also be positively charged along with the plate and they will be repelled by the plate.
Hence, the answer is the balls will bounce back to the bottom plate carrying the opposite charge they went up with, option D.
Additional information:
Electric field: An electric field (E-field is often the physical field surrounding each electric charge and exerting force on all other charges in the field, either attracting or repelling them. Electric fields arise from electric charges or from magnetic fields that differ in time. Electric fields and magnetic fields are also electromagnetic force manifestations, one of the four fundamental forces (or one of the four fundamental forces).
Note: Remember that an electric field is an elegant way of characterizing a charging system's electrical environment. At any point in the space around a charging device, the electric field reflects the force that a positive unit test charge will feel if mounted at that point.
