Question
Question: What is the minimum value of \(F\) needed so that block begins to move upward on frictionless inclin...
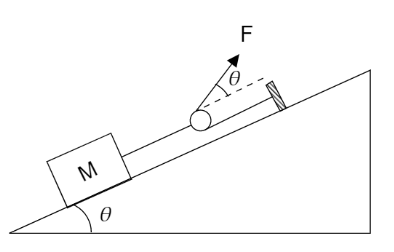
What is the minimum value of F needed so that block begins to move upward on frictionless incline plane as shown

Solution
In the given question we have to find all the forces and the tension forces that work on the body M. Thus, we have to formulate a free body diagram here. Then by using the trigonometric ratios and Newton’s Law we will find the force F that is needed to move the block upwards.
Complete step by step answer:

In the given figure, it is clear that the weight Mg acts downward.By resolving the components of the weight Mg we get the vertical component is Mgcosθ and the horizontal component is Mgsinθ. The horizontal component Mgsinθ is the force that balances the tension T of the string.We can write,
T=Mgsinθ−−−−−(1)
Now, resolving the components of the force F which is actually the tension in the string.
The horizontal component of the tension or force F is Fcosθ.Hence from the given diagram we get,
T=F+Fcosθ−−−−−(2)
Comparing both the equations it is clear that,
F+Fcosθ=Mgsinθ
Taking F common from the left side of the equation we get,
F(1+cosθ)=Mgsinθ
From the half angle formula of the trigonometry we get,
F(2cos22θ)=Mg(2sin2θcos2θ)
Dividing both sides by 2cos2θ we get,
F(cos2θ)=Mg(sin2θ)
Arranging the equation we get,
F=Mgcos2θsin2θ ∴F=Mgtan2θ
So, the minimum value of force F must be Mgtan2θ in order to move the block upward.
Note: It must be noted that the given question stated that the plane is frictionless. If there is friction on the surface, it will oppose the motion of the body. Thus, we have calculated a force in opposite direction to the force required to move the body upwards to find the equation of the forces that balances each other.
