Question
Question: What is the minimum acceleration with which bar A (shown in the figure below) should be shifted hori...
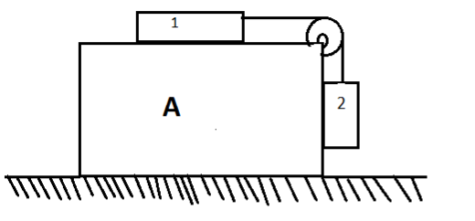
What is the minimum acceleration with which bar A (shown in the figure below) should be shifted horizontally to keep bodies 1 and 2 stationary relative to the bar? The masses of the bodies are equal and the coefficient of friction between the bar and the bodies is equal to k. The masses of the pulley and the threads are negligible, the friction in the pulley is absent.

Solution
This given question can be solved by using second law of motion given by the Isaac Newton and also, we have to calculate the minimum acceleration on the bar by bodies 1 and 2 so, we need to check whether static friction between the given bodies 1 and 2 in the above question is acting or not.
Step by step solution: Body 1 and body 2 are in rest with respect to bar A.
Let us assume the minimum acceleration of the bar is wmin
Let us assume the maximum acceleration of the bar is wmax
Let us assume the acceleration of the bar isw.
So we can write
