Question
Question: Two slits are made \(1mm\) apart and the screen is placed one mater away. What is the fringe separat...
Two slits are made 1mm apart and the screen is placed one mater away. What is the fringe separation when the green light of wavelength 500nm is used?
(A)500nm
(B)250nm
(C)50nm
(D)25nm
Solution
In this problem distance between the two slits is given, wavelength of the light is also given and at the same time distance of the screen is also given. Now by using Young’s double slits formula we can calculate the separation of the fringe. So first you need to learn the double slit formula to solve this problem.
Formula Used:
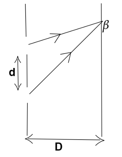
β=dλD
Where,
β= Separation of Fringe
λ= Wavelength of Light
D = Distance of the screen
d = Distance between two slit
Complete step-by-step solution:
In modern physics the double slit’s experiment is a demonstration that light and matter can display characteristics of both classically defined waves and particles, moreover , it displays the fundamentally probabilistic nature of quantum mechanical phenomena.

As given in the question,
There are two slits at a distance of 1mm from each other.
Now convert first convert the distance between the two slits into meters.
1mm=10−3m
The screen is at a distance of 1m .
And the wavelength of the given green light is 500nm .
Now first convert the wavelength into meter we get,
1nm=10−9m
⇒500nm=500×10−9m
Now using young’s double slit formula we get,
β=dλD
Putting the given values we will get,
β=10−3m500×10−9m×1m
⇒β=10−3m500×10−9m2
⇒β=500×10−6m
⇒β=5×10−4m
Converting meter into nanometer,
⇒β=5×10−4×109×10−9m
⇒β=5×105nm
⇒β=500000nm
Hence the fringe separation is 500000nm.
But the correct option is not given in the question.
Note: So as to get a simplified answer, always keep all SI units in the same terms like in this question first convert all the given values in terms of the same SI unit. Always convert all the given terms into its basic SI unit. Then according to the option change the final value’s SI unit.
