Question
Question: The meter bridge circuit shown in figure is balanced when jockey\(J\) divides wire AB in two parts A...
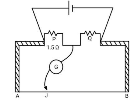
The meter bridge circuit shown in figure is balanced when jockeyJ divides wire AB in two parts AJ and BJ in the ratio of 1:2. The unknown resistance Q has value
(A) 1 Ω
(B) 3 Ω
(C) 4 Ω
(D) 7 Ω

Solution
It is given that the meter bridge circuit is balanced, which means that the above circuit can be considered as a Wheatstone bridge. Find the resistance of the resistor Q by applying the condition for Wheatstone bridge.
Complete step by step answer:
The meter bridge works on the principle of Wheatstone bridge. The condition for balanced Wheatstone bridge is given as R2R1=R4R3.
In meter bridge R1,R2,R3&R4 are as follows:
R1=P, R2=ρAl1 where l1 is the length AJ, R3=Q and R4=ρAl2 where l2 is the length BJ.
Here, ρ is the resistivity of the wire and A is the cross section of the wire.
Now, using the given data and applying the condition for Wheatstone bridge
ρAl1P=ρAl2Q ⇒l1P=l2Q ⇒QP=l2l1
Given that l2l1=21
⇒QP=21 ⇒Q=2P ⇒Q=(2)(1.5)
Q=3 Ω
Therefore, the unknown resistance Q has value 3 Ω.
So, the correct answer is “Option B”.
Note:
Remember that while finding the resistance of the wire, it is possible that the wire may have variable resistivity and area of cross section which will change the resistances of the wire in the two parts. The meter bridge is used to find the unknown resistance. The jockey is slide on wire until there is no deflection in the galvanometer. This is known as the null point.
