Question
Question: Same spring is attached with 2kg, 3kg and 1 kg blocks in three different cases as shown in figure. I...
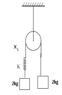
Same spring is attached with 2kg, 3kg and 1 kg blocks in three different cases as shown in figure. If x1, x2, x3 be the extension in the three cases then,



A) x1=0, x3 >x2
B) x1>x2>x3
C) x3>x2>x1
D) x2>x1>x3
Solution
Above problem is based on connected motion concept with the presence of second law of motion (Newton’s law of motion). In the connected system tension (force applied upwards due to the presence of pulley) is given as:
T=m1+m22m1m2g
Forces acting on a body balance each other, the force which is greater in magnitude exists in the system.
Like in the question pulley will move down if the downward force (mg) will be greater than tension.
Using the similar concept we will solve the problem.
Complete step by step solution:
We have x1,x2,x3 proportional to tension T of the pulley:
So, we will find the tension T of the springs in each three cases by using the formula for tension of the connected system of motion.
⇒T1=m1+m22m1m2g ⇒T1=2+22×2×2g ⇒T1=2g
We have substituted the value of masses in the formula given and calculated T1.
Now, we will calculate tension for second diagram
⇒T2=3+22×3×2g ⇒T2=512g=2.4g (Tension calculated for second diagram)
Now, we will move on to the third figure:
⇒T3=2+12×1×2g ⇒T3=34g=1.66g (Tension in figure 3 is calculated)
By observation we got;
T2>T1>T3
As T∝x
Therefore, we can write as:
x2>x1>x3
Option: (D) is correct.
Note: We have a number of daily life examples where we are observing Newton’s second law of motion such as, hitting the golf ball, cricket ball, football with a force the more we exert force the more we will observe the reaction. As in our question above force having higher magnitude was existing in the system.
