Question
Question: In this given figure, the magnitude of the acceleration of the centre of mass of the system is ![]...
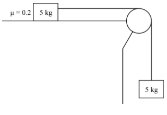
In this given figure, the magnitude of the acceleration of the centre of mass of the system is

Solution
This the pulley problem with two masses attached with one string over the pulley. First, you need to draw the Free Body Diagram of both the vertical and horizontal masses and then analyse it with Newton’s 2nd law of motion. Free body diagram shows us all the forces acting on the body apart from the whole system, hence the analysis gets easier.
Complete step by step answer:
The vertical and horizontal masses are the same, i.e., m=5kg
The table friction coefficient is μ=0.2

For vertical mass which is hanging outside the pulley, Newton’s 2nd law of motion applied to this mass. Then from Newton’s second law,
mg−T=ma
Putting the value of m=5kg in the above equation,
50−T=5a ……………………………. (1)
For Horizontal Mass.
From Newton’s second law
T−μR=ma
Putting the value of m,μ and R in the above equation,
T−10=5a …………………………… (2)

The solution of equation (1) and (2) gives us the acceleration “a.”
Adding equation (1) and (2), we get
10a=40 ⇒a=4m/sec2
The horizontal acceleration is calculated by
ax=totalmasstotalhorizontalforce
So,
ax=m+mma+0 ⇒ax=10050 ⇒ax=2m/sec2
The vertical acceleration is calculated by
ay=totalmasstotalverticalforce
So,
ay=m+m0+ma ⇒ay=10050 ⇒ay=2m/sec2
Net acceleration can be calculated by using the expression,
a=ax2+ay2
Putting the value of ax and ay
