Question
Question: In the given system which mass (in kg) will move with acceleration greater than acceleration due to ...
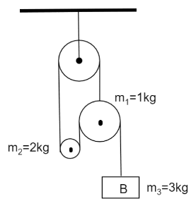
In the given system which mass (in kg) will move with acceleration greater than acceleration due to gravity (g) .

Solution
Tension is the pulling force acting along a stretched flexible connector, such as a rope or cable. When a rope holds the weight of an object at rest, the rope's tension is equal to the object's weight. Using this we will find the acceleration of the different masses hence the answer to our question.
Complete answer:
When items rest on a surface, the surface exerts a force on the object, which helps it to support its weight. This sustaining force works perpendicular to the surface and away from it. There is a pulling force acting along a stretched flexible connector that is known as a normal force.

let a downward acceleration on the 3kg block be a1
Let T be tensioned in each part of the string. The equation of motion on the block
For 3kg mass is
3a1=3g−T ………………… (1)
For 1kg mass
1×a2=2T−2T+g
⇒a2=g ………………………. (2)
For 2kg mass
2a3=2T−2g ………………….. (3)
Hence relation between all the acceleration will be,
a1=2a2+2a3
Putting value of a2 we get,
⇒a1=2g+2a3
⇒a1=2(g+a3)
Solving the above equations we get,
6g+6a3=3g−T
⇒3g+6a3=−T
2a3=−9g−12a3
⇒a3=14−9g
a1=2×(144−9)g
⇒a1=1410g
⇒a2=g
So mass a2 is moving with the speed of acceleration in the given system.
Note:
It’s crucial to remember that tension in a connector refers to a pull. Take, for example, the expression "You can't push a rope." A rope's two ends are pulled outward by the tension force. All we have to do to create a lot of tension is apply a force perpendicular to a flexible connector.
