Question
Question: In the figure shown all contact surfaces are smooth. Acceleration of block B will be \[\left( {g = 1...
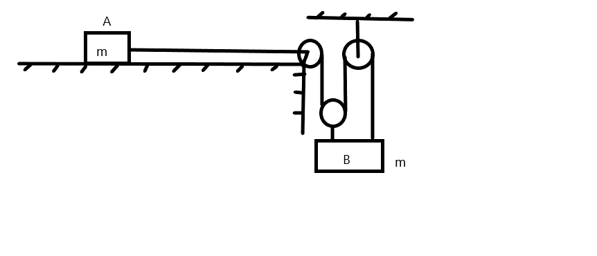
In the figure shown all contact surfaces are smooth. Acceleration of block B will be (g=10 m/s2)

\left( {\text{A}} \right)$$$$1{\text{ }}m/{s^2}
\left( {\text{B}} \right)$$$$2{\text{ }}m/{s^2}
\left( {\text{C}} \right)$$$$3{\text{ }}m/{s^2}
(D) None of these
Solution
Friction: It is a force that comes into action when a body moves or tends to move over the surface of another body.
Acceleration: It is defined as the rate of change of velocity with the time period.
Tension: It is defined as the pulling force transmitted axially by the means of a string, cable, or chain.
Free body diagram (FBD): It is the diagrammatic representation used to show the relative magnitude and the direction of all forces acting upon an object in a given situation.
Work theorem: It states that the net work done by the forces on the object equals the change produced in its kinetic energy.
Formula used:
TxA−3TxB=0, hereT is the tension of the string,xA and xB is the displacement due to the motion.
Complete step by step answer:
The free-body diagram is given below,

From the figure, we can say that the acceleration of the mass B is acting downward which is in equal magnitude with the weight of the body.
From the figure, we can write that TxA−3TxB=0
Now we have to equate the terms we get,
⇒TxA=3TxB
⇒xA=3xB
Differentiating twice we get the values of acceleration, aA=3aB
For block A: maA=T
For block B:maB=mg - 3T
Replacing the value of maA=T we get,
⇒maB=mg - 3(maA),
Substitute aA=3aB in the above equation we get,
⇒ maB=mg - 3m(3aB),
On multiplying the terms we get,
⇒maB=mg - 9maB
Taking the same terms in LHS and adding we get,
⇒10maB=mg,
Substituting the value of gwe get,
⇒10maB=10m
Cancel the same terms and we get,
⇒aB=1 m/s2
Hence, the correct option is (A).
Note:
The force of attraction between the two surfaces at the point of actual contacts at nanoscales.
The tension means to stretch; it pulls only in parallel direction of the string length.
Forces are due to the interaction of at least two objects.
Force may change the state of motion of an object, the shape of the object.
