Question
Question: Find the velocity of the pan + ball system at t = 2.6 s. Assume that the block comes to rest instant...
Find the velocity of the pan + ball system at t = 2.6 s. Assume that the block comes to rest instantaneously after striking the floor

A. 4 m/s downwards
B. 0.6 m/s upwards
C. 4 m/s upwards
D. 0.4 m/s downwards
Solution
This question can be solved by the concept of impulse. In classical mechanics, the impulse (symbolised by I or Imp) is the integral part of a force for which it functions over the time interval. Since force is a quantity of vectors, impulse is a quantity of vectors as well. An object's impulse induces an analogous vector shift in its linear momentum, often in the same direction.
Complete step by step answer:
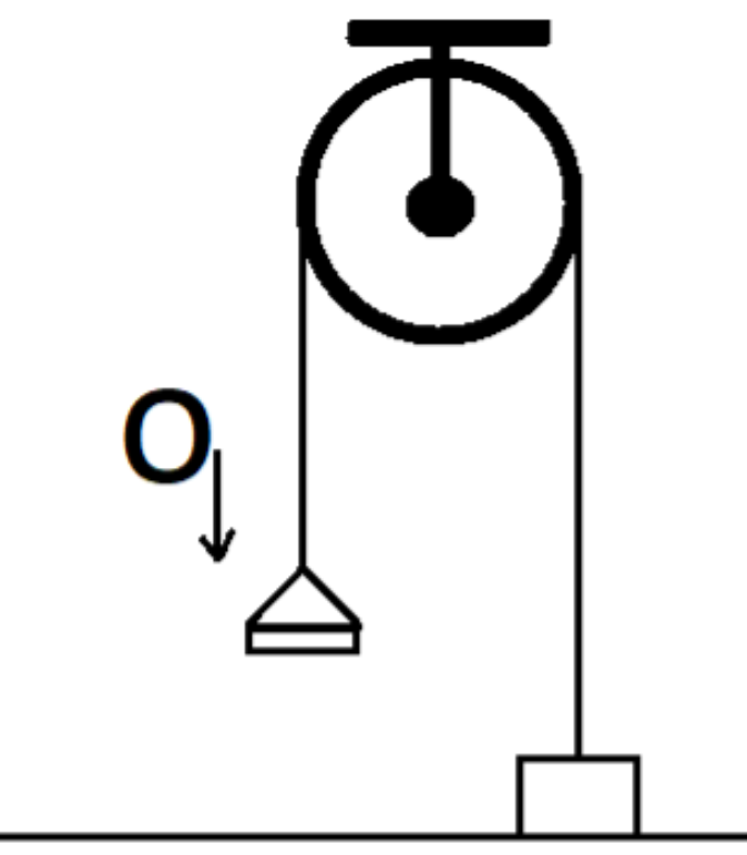
Before we start solving the given question, let us take a look at all the parameters that are given to us.
GIVEN PARAMETERS
Let the mass of ball be,
m0 = 0.5 kgs
Now, mass block
M = 3 kg
And, mass of pan
m = 1.5 kg
v0 = 20 m/s
Now,
As the string is inextensible the velocity of all the masses will be same
Also,
v is the final velocity of each mass.
Now,
Impulse on the ball,
I=ΔP
⇒I=m0(v0−v)
⇒I=0.5(20−v) ……………………(1)
And, impulse on the block
I1=Mv=3v ……………………(2)
Impulse on the pan,
I−I1=mv=1.5v
Now, substituting the values from equations (1) and (2)
We have,
⇒10−0.5v−3v=1.5v
⇒5v=10
We have,
the final velocity,
v = 2m/s in upward direction.
Let the tension acting on the string be T
So,
Mg – T = Ma
⇒30 -T =3a ……………………..(4)
Also,
T−20=2a ……………………..(5)
By adding equation (4) and (5), we get
30−T+T−20=3a+2a
⇒5a=10
So, we have
a=2m/s2
So,
Before the jerk, the velocity of the mass is
v = 2m/s
and,
After the jerk, the velocity of the block is u.
Impulse on block is
I1=3u
⇒I1=ΔP=2(2−u)
So,
Using the values from above
⇒3u=2(2−u)
⇒3u=4−2u
⇒5u=4
⇒u=54
⇒u=0.8m/s
Velocity of each masses will be
u = 0.8 m/s
So,
Block goes down with velocity v after 2.4 seconds and accelerates in the upward direction with 2m/s2
Equation of motion,
v = u + at
⇒v = 0.8−2×0.2
So, we have
v =0.4m/s Downward.
So, the velocity of pan + ball system at t = 2.6 s will be
∴ v =0.4m/s Downward.
So, the correct answer is “Option D”.
Note: Examples of incorporating the principle of impulse to minimise the force of impact are automotive airbags and cushioned gymnasiums. The force on a tennis ball is improved by providing great racquet head speed. This reduces the impact time between the ball and the racquet, thereby increasing the impact force.
