Solveeit Logo

Question

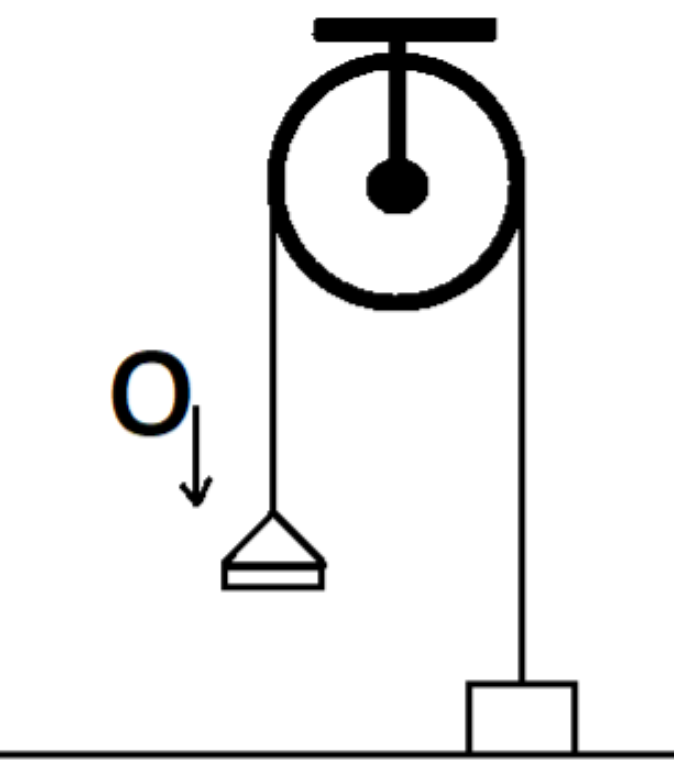
Question: Find the velocity of the pan + ball system at t = 2.6 s. Assume that the block comes to rest instant...

Find the velocity of the pan + ball system at t = 2.6 s. Assume that the block comes to rest instantaneously after striking the floor

A. 4 m/s downwards
B. 0.6 m/s upwards
C. 4 m/s upwards
D. 0.4 m/s downwards

Explanation

Solution

This question can be solved by the concept of impulse. In classical mechanics, the impulse (symbolised by I or Imp) is the integral part of a force for which it functions over the time interval. Since force is a quantity of vectors, impulse is a quantity of vectors as well. An object's impulse induces an analogous vector shift in its linear momentum, often in the same direction.

Complete step by step answer:
Before we start solving the given question, let us take a look at all the parameters that are given to us.
GIVEN PARAMETERS
Let the mass of ball be,
m0{{m}_{0}} = 0.5 kgs
Now, mass block
M = 3 kg
And, mass of pan
m = 1.5 kg
v0{{v}_{0}} = 20 m/s
Now,
As the string is inextensible the velocity of all the masses will be same
Also,
v is the final velocity of each mass.
Now,
Impulse on the ball,
I=ΔPI=\Delta P
I=m0(v0v)\Rightarrow I={{m}_{0}}\left( {{v}_{0}}-v \right)
I=0.5(20v)\Rightarrow I=0.5\left( 20-v \right) ……………………(1)
And, impulse on the block
I1=Mv=3v{{I}_{1}}=Mv=3v ……………………(2)
Impulse on the pan,
II1=mv=1.5vI-{{I}_{1}}=mv=1.5v
Now, substituting the values from equations (1) and (2)
We have,
100.5v3v=1.5v\Rightarrow 10-0.5v-3v=1.5v
5v=10\Rightarrow 5v=10
We have,
the final velocity,
v = 2m/s in upward direction.
Let the tension acting on the string be T
So,
Mg – T = Ma
30  -T =3a\Rightarrow 30\text{ }\text{ -}T\text{ }=3a ……………………..(4)
Also,
T20=2aT-20=2a ……………………..(5)

By adding equation (4) and (5), we get
30T+T20=3a+2a30-T+T-20=3a+2a
5a=10\Rightarrow 5a=10
So, we have
a=2m/s2a=2m/{{s}^{2}}
So,
Before the jerk, the velocity of the mass is
v = 2m/s
and,
After the jerk, the velocity of the block is u.
Impulse on block is
I1=3u{{I}_{1}}=3u
I1=ΔP=2(2u)\Rightarrow {{I}_{1}}=\Delta P=2\left( 2-u \right)
So,
Using the values from above
3u=2(2u)\Rightarrow 3u=2\left( 2-u \right)
3u=42u\Rightarrow 3u=4-2u
5u=4\Rightarrow 5u=4
u=45\Rightarrow u=\dfrac{4}{5}
u=0.8m/s\Rightarrow u=0.8m/s
Velocity of each masses will be
u = 0.8 m/s
So,
Block goes down with velocity v after 2.4 seconds and accelerates in the upward direction with 2m/s22m/{{s}^{2}}
Equation of motion,
v = u + at
v = 0.82×0.2\Rightarrow v\text{ }=\text{ }0.8-2\times 0.2
So, we have
v =0.4m/sv\text{ }=0.4m/s Downward.
So, the velocity of pan + ball system at t = 2.6 s will be
\therefore v =0.4m/sv\text{ }=0.4m/s Downward.

So, the correct answer is “Option D”.

Note: Examples of incorporating the principle of impulse to minimise the force of impact are automotive airbags and cushioned gymnasiums. The force on a tennis ball is improved by providing great racquet head speed. This reduces the impact time between the ball and the racquet, thereby increasing the impact force.