Question
Question: A brick measures \[20cm \times 10cm \times 5cm\] . How many bricks would be required to build a wall...
A brick measures 20cm×10cm×5cm . How many bricks would be required to build a wall of 10m×15m×0.2m?
Solution
Hint : Cuboid is a three-dimensional shape which can be defined in a XYZ co-ordinate system having 6 faces, 8 vertices and 12 edges and the opposite faces are parallel to each other with only parallel faces are of equal dimensions

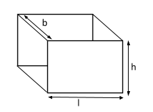
The volume of the cuboid is given by l×b×h
Total Surface area of cuboid is given by =2(lb+bh+lh)
Lateral Surface area of cuboid is given by =2(lh+bh)=2h(l+b)
Lateral surface area means an area of all faces except the top and bottom face.
Where l, b and h are length, breadth and height of the cuboid respectively.
Unit of volume =m3
Complete answer : Given,
Length of the brick=lb=20cm=0.2m
Breadth of the brick=bb=10cm=0.1m
Height of the brick=hb=5cm=0.05m
Now, as we know that the volume of the brick =lb×bb×hb
Putting the value of lb, bb and hb in the above equation we get,
Volume of the brick=(0.2×0.1×0.05)m3=0.001m3
Also we are given,
Length of the wall=lw=10m
Breadth of the wall=bw=0.2m
Height of the wall=hw=15m
Hence, volume of the wall =lw×bw×hw
Now putting the value of lw, bw, hw we get,
Volume of the wall=(10×0.2×15)m3=30m3
Hence we need to find that how many number of bricks of volume 0.001m3are required to make a wall of volume 30m3
That is No. of bricks will be equal to the ratio of volume of the wall to the volume of a brick,
Therefore, mathematically number of bricks =volume of a brickvolume of the wall=0.00130=30,000 bricks
Hence total no. of bricks of volume 0.001m3 required to make a wall of volume 30m3 is 30,000 which is the required answer
Note : Don’t confuse between the formulas. Never forget to write the correct unit in your answer. Unit of volume will always be in Cubic unit. Also the unit of length, breadth and height should be converted to a same unit. 1m=100cm
